Скрыпник В.А.
"Приборы для контроля и налаживания
радиолюбительской аппаратуры"
Чувствительность современных приемников часто бывает очень высокой. Измерить ее в микровольтах с помощью генератора сигналов не удается. Сложность заключается в том, что аттенюатором генератора практически очень трудно достоверно ослабить сигнал до уровня десятых или сотых долей микровольта.
В таких случаях для оценки чувствительности применяют коэффициент шума приемника. Это величина, показывающая, во сколько раз мощность шума на выходе реального приемника больше мощности на выходе идеального приемника, т. е. такого, у которого шум определяется только тепловыми шумами эквивалента антенны . Величина мощности шума на выходе идеального приемника зависит от температуры эквивалента антенны и полосы пропускания приемника. Мощность шумов на выходе реального приемника зависит от ряда факторов и на практике ее определяют косвенным путем. Для этого на вход подают калиброванный по уровню шум и увеличивают его интенсивность до тех пор , пока мощность не станет равна мощности собственного шума приемника. Естественно, что на выходе при этом суммарная мощность возрастает вдвое.
Задачу получения калиброванного по уровню шума решают применением в генераторе специального вакуумного диода, работающего в режиме насыщения. Спектральная плотность мощности генерируемого шума пропорциональна анодному току диода. Если произвести несложные математические вычисления, то окажется, что величину коэффициента шума приемника при испытаниях по приведенной выше методике с использованием генератора шума на вакуумном диоде можно определить из выражения
Кш=20IаRа ,
где Кш — коэффициент шума приемника, KT0; Iа— ток анода, мА; Rа — сопротивление эквивалента антенны, Ом.
Получили распространение шумовые диоды двух типов — 2Д3Б и 2Д2С. Первый из них применяется в диапазоне высоких частот (до 30 МГц), а второй — в диапазоне очень высоких или ультравысоких частот (до 600 МГц). Диод 2Д3Б допускает максимальный ток анода 5 мА, а 2Д2С — 40 мА. Очевидно, что максимальный коэффициент шума, измеренный с применением генераторов на таких диодах, может быть:
в случае использования диода 2Д3Б — К = 5КТ0 при Ra = 50 Ом и Кш = 7,5КТ0 при Ra = 75 Ом;
в случае использования диода 2Д2С - К = 40КТ0 при Ra = 50 Ом и Кш = 60КТ0 при Ra = 75 Ом.
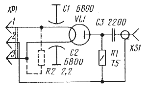
Принципиальная схема генератора шума изображена на рис.

Он состоит из блока питания и выносной головки. В блоке питания имеется выпрямитель (VD1) и стабилизатор (VD6) анодного напряжения, а также выпрямитель напряжения накала катода (VD2 -- VD5) и схема регулирования тока накала на транзисторах VT1 и VT2. Регулируют ток накала с помощью переменного резистора R5, ось которого выведена на переднюю панель блока. На ней также расположен и миллиамперметр, измеряющий анодный ток шумового диода.
Прибор имеет две сменные генераторные головки с диодами обоих типов. Они собраны по одной схеме. Анодной нагрузкой и эквивалентом антенны служит резистор R1. Он может быть типа МЛТ-0,25 на 51 или 75 Ом. Конденсатор С3 служит для разделения шумов и постоянной составляющей напряжения, выделяющегося на R1. Резистор R2 — проволочный, сопротивлением 2,2 Ом. Он используется в головке с диодом 2Д3Б и служит для создания одинаковой нагрузки для схемы регулирования тока накала катода диода.
Учитывая, что коэффициент шума связан с анодным током, шкалу миллиамперметра для удобства лучше проградуировать в единицах КТ0. Это несложно сделать соответствующим выбором резистора R3 в блоке питания в зависимости от тока полного отклонения стрелки и сопротивления рамки прибора РА1. В данной конструкции применен миллиамперметр типа М4203 на ток 5 мА. Для большинства случаев достаточно ограничиться максимальной величиной измеряемого коэффициента шума. Например, при Кш = 15КТ0 максимальный ток через диод будет равен 15 мА, если Rа = 50 Ом, и 10 мА для Rа = 75 Ом. Исходя из этого и выбирают сопротивление шунтирующего резистора R3. Естественно, что имеет смысл использовать миллиамперметр со шкалой на 15 или 10 мА. В первом случае шкала прибора будет прямо соответствовать единицам КТ0, а во втором показания придется умножать на 1,5.
Подключение генераторной головки к блоку питания осуществляют при помощи соединителя ОНЦ-ВГ-5/16-В. Разъем XS1 в выносной головке — типа СР-50-73Ф. Конденсаторы С1 и С2 — типа КТП-2, а С3 — КДУ. Монтаж внутри головок ведут, предельно укорачивая выводы деталей.
Измерение коэффициента шума приемника производят с выключенной автоматической регулировкой усиления. К выходу приемника, как и в случае с генератором шума на стабилитроне, подключают индикатор выхода — вольтметр переменного напряжения или осциллограф. Если используется линейный детектор в приемнике (режим SSB или CW), то показания индикатора, регистрирующего прирост шума от генератора по сравнению с собственным шумом приемника должны увеличиваться в 1,41 раза. Если же детектор квадратичный (режим AM), то в 2 раза.